
(사진=베리리뷰)
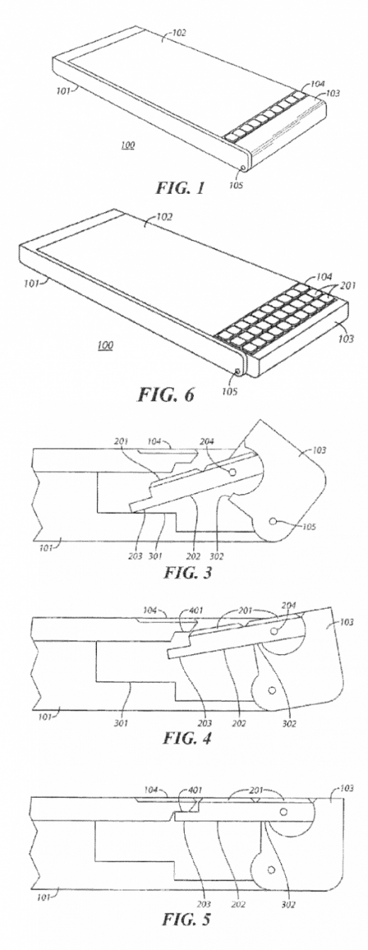
18일(현지시간) 블랙베리 전문 리뷰 사이트 베리리뷰는 여러 장의 그림과 함께 새로운 블랙베리 모델 소식을 전했다. 베리리뷰에 따르면 우연히 미국 특허청 사이트에서 발견된 이 새로운 블랙베리 모델은 키보드를 움직여 기기안에 넣어두는 시스템을 갖고 있다. 또한, 사용자가 키보드를 사용할 필요가 있을 때는 곧 출시될 패스포트처럼 3행의 키보드가 있는 하단 부분을 회전시켜 언제든지 빼낼 수 있다.
베리리뷰는 내년 2분기에 출시될 예정인 이 모델의 이름을 빅토리아(Victoria)와 비자(Visa)라고 소개했다.
한편, 블랙베리는 오는 24일 토론토, 런던, 두바이에서 열리는 블랙베리 행사를 통해 신제품 패스포트를 출시할 예정이다. 패스포트는 4.5인치의 정사각형 액정에 물리적인 쿼티 자판이 장착된 스마트폰이다. 실제 여권과 동일한 크기로 인해 '패스포트(Passport)'라는 이름이 붙었다.
특히 이번에 출시될 패스포트는 퀄컴 스냅드래곤800 프로세서에 고릴라 글라스, 광학식 손떨림보정(OIS) 기술을 적용한 1300만 화소 후면카메라, 3GB LPDDR3 램, 3450mAh 대용량 배터리 등이 탑재된 고사양의 스마트폰으로 알려져 기대감을 모으고 있다.









